Warnung
Sie lesen eine alte Version dieser Dokumentation. Wenn Sie aktuelle Informationen wünschen, schauen Sie bitte unter 2025.11 .Entleerungsplattformen
Bemerkung
Purging platform is not available for Asycube Clean 230
Wenn ein schneller Komponentenwechsel erforderlich ist, können Sie mit der Entleerungsoption einfach von der Bearbeitung eines Produkts „A“ zu einem Produkt „B“ wechseln und so die Umrüstzeit verkürzen, ohne dass der Benutzer während der Produktion eingreifen muss. Das Prinzip der Entleerung ist für jeden Asycube unterschiedlich:
Die Entleerungsoption für die Asycube 50 und 80 besteht aus :
(A) einer Plattform mit einer speziellen Geometrie, die es ermöglicht, die Komponenten zu evakuieren.
(B) einem unter dem Bunker angebrachten Kasten zur Aufnahme der evakuierten Komponenten. Dieser Kasten kann ohne Werkzeug entfernt werden.
Abb. 95 Entleerungsoption
Die Entleerungsoption für den Asycube 240 besteht aus :
(A) einer Plattform mit einer speziellen Geometrie und einer integrierten Klappe, um Teile entweder nach links oder nach rechts zu entleeren.
(B) einem Entleerungs-Aktuator-Kit, der die Bewegung der Klappe und ihr ordnungsgemässes Schliessen ermöglicht. Er enthält einen elektrischen Antrieb und einen Sensor.
(C) einem Schnabel zur Entleerung der Teile
Bemerkung
Der Entleerungs-Aktuator-Kit ist separat zur Plattform erhältlich.
Der Entleerungsschnabel wird mit dem Entleerungs-Aktuator-Kit geliefert.
Die Kabel sind im Lieferumfang des Entleerungs-Aktuator-Kits enthalten.
Die Seite der Entleerung (rechts oder links) kann nach dem Kauf nicht mehr umkonfiguriert werden.
Die Entleerungsoption für den Asycube 380 und 530 besteht aus :
(A) einem Entleerungsrahmen mit einer integrierten Klappe, um Teile entweder nach links oder nach rechts zu entleeren. Er enthält einen elektrischen Aktuator und einen Sensor, um ein ordnungsgemässes Schliessen der Klappe zu ermöglichen.
(B) einem Schnabel für das Entleeren der Teile
Die Klappe wird von einem Elektromotor angetrieben, und ein Sensor bestätigt ihr ordnungsgemässes Schliessen. Der Mechanismus wird direkt vom Asycube gesteuert.
Bemerkung
Der Entleerungs-Aktuator-Kit ist separat zur Plattform erhältlich.
Der Entlwwerungsschnabel ist im Lieferumfang des Entleerungsrahmens enthalten.
Die Kabel sind im Lieferumfang des Entleerungs-Aktuator-Kits enthalten.
Bemerkung
Purging platform is not available for Asycube Clean 230
Mechanische Schnittstellen
50 |
80 |
|
|---|---|---|
A |
68.7 mm |
90.7 mm |
B |
1 mm |
1 mm |
C |
3.5 mm |
3.5 mm |
D |
2.5 mm |
3.5 mm |
E |
5.5 mm |
5.5 mm |
F |
45° |
45° |
Asycube 240 |
|
|---|---|
A |
199 mm |
B±Hub |
144±2 mm |
C±Hub |
132±2 mm |
D |
180 mm |
E |
152 mm |
F |
4 mm |
G |
54 mm |
H |
201 mm |
I±Hub |
149±2 mm |
L |
Rostfreier Stahl 1.4301 |
M |
Rostfreier Stahl 1.4301 |
N |
POM (siehe Produktliste) |
Asycube 380 |
Asycube 530 |
|||
|---|---|---|---|---|
Höhe des Rahmens |
H=60mm |
H=85mm |
H=68mm |
H=100mm |
A |
287 mm |
287 mm |
404 mm |
404 mm |
B ± Hub |
307±6 mm |
332±6 mm |
329±8 mm |
361±8 mm |
C ± Hub |
306±6 mm |
331±6 mm |
327±8 mm |
359±8 mm |
D |
264 mm |
264 mm |
381 mm |
381 mm |
E |
311 mm |
333 mm |
435 mm |
463 mm |
F |
316±6 mm |
341±6 mm |
338±8 mm |
370±8 mm |
G |
400 mm |
400 mm |
506 mm |
506 mm |
H |
Rostfreier Stahl 1.4301 |
|||
I |
POM-C (FDA) |
|||
Bemerkung
Purging platform is not available for Asycube Clean 230
Elektrische Schnittstellen
Nicht anwendbar für diesen Typ von Asycube.
Bemerkung
Zur Verwendung des Entleerungs-Aktuator-Kits schliessen Sie das Kabel an die Asycube-Ausgänge „IN2“ / „OUT2“ an. Denken Sie daran, das Kabel abzustecken, wenn Sie das System entfernen müssen.
Bemerkung
Beim Verbinden des Entleerungsrahmens sucht der Motor seine Ausgangsposition und gibt dabei ein Geräusch ab. Dieses Geräusch kann unter Umständen auch während des Betriebs zu hören sein.
Wichtig
Um eine vorzeitige Abnutzung des Motors zu vermeiden, dürfen alle Bewegungen, die nicht auf die Entleerung der Plattform abzielen, nicht ausgeführt werden.
(Bei einem Entleerungssystem mit der Klappe auf der linken Seite z.B. darf nur die Vibration „Links“ verwendet werden. Ähnlich verhält es sich bei einem Entleerungssystem, bei dem sich die Klappe auf der rechten Seite befindet; hier darf nur die Vibration „Rechts“ verwendet werden).
Bemerkung
Um den Entleerungsrahmen zu verwenden, schliessen Sie das Kabel an den Asycube-Ausgang „Purge“ an. Vergessen Sie nicht, das Kabel abzustecken, wenn Sie den Rahmen entfernen müssen.
Bemerkung
Beim Verbinden des Entleerungsrahmens sucht der Motor seine Ausgangsposition und gibt dabei ein Geräusch ab. Dieses Geräusch kann unter Umständen auch während des Betriebs zu hören sein.
Wichtig
Um eine vorzeitige Abnutzung des Motors zu vermeiden, dürfen alle Bewegungen, die nicht auf die Entleerung der Plattform abzielen, nicht ausgeführt werden.
(Bei einem Entleerungssystem mit der Klappe auf der linken Seite z.B. darf nur die Vibration „Links“ verwendet werden. Ähnlich verhält es sich bei einem Entleerungssystem, bei dem sich die Klappe auf der rechten Seite befindet; hier darf nur die Vibration „Rechts“ verwendet werden).
Bemerkung
Purging platform is not available for Asycube Clean 230
Montage des Entleerungskits
Nicht anwendbar für diesen Typ von Asycube.
Schritt 1: Schrauben Sie den Asycube auf der Seite der Stecker los.
2 I5 Schrauben 
Schritt 2: Positionieren Sie die Halterung (A). Drücken Sie sie dabei ganz auf die Oberfläche des Asycubes. Schrauben Sie den Asycube wieder fest.
2 I5 Schrauben 
Schritt 3: Lösen Sie die Schrauben der Halterung, um einen Abstand d > 3 mm zwischen der Oberfläche der Halterung (A) und dem Schraubenkopf freizugeben.
2 I5 Schrauben 
Schritt 4: Positionieren Sie den Entleerungs-Aktuator-Kit (B) (1)-(2) positionieren und ziehen Sie die Schrauben der Halterung (A) an.
2 I5 Schrauben, 4.5Nm. 
Schieben Sie den Entleerungs-Aktuator-Kit (B) gegen die Schrauben, bevor Sie diese festziehen (Vorgang 2).
Schritt 5: Schliessen Sie den Entleerungs-Aktuator-Kit an den Asycube an. Verwenden Sie die Ausgänge: IN2 / OUT2.
Schritt 6 (optional) : Entfernen Sie 2 Schrauben von der Seitenplatte.
2 Tx10 Schrauben 
Schritt 7 (optional) : Schrauben Sie den Entleerungsschnabel (C) auf den Boden des Asycube.
2 I2.5 Schrauben - 1.2Nm 
Schritt 8: Positionieren Sie die Plattform auf dem Asycube.
Schritt 9: Schrauben Sie den Sensorhalter ab. Bringen Sie den Sensor in einen Abstand von 1 mm bis 1.5 mm zur Sensorplatte. Ziehen Sie die beiden Schrauben des Sensorhalters fest.
2 I2.5 Schrauben - 1.2Nm 
Schritt 10: Öffnen Sie Asycube Studio, wählen Sie die Registerkarte „Konfiguration“ und aktivieren Sie die Entleerungsfunktion.
Wichtig
Bei geöffneter Entleerungsklappe dürfen keine anderen Vibrationen als die nach links oder rechts ausgeführt werden. Wird diese Einschränkung nicht beachtet, kann der Mechanismus irreparabel beschädigt werden.
Wichtig
Der Entleerungskit und die Aktivierung der Entleerungsoption verändern das Vibrationsverhalten. Vergessen Sie nicht, die Entleerungsoption zu deaktivieren, wenn Sie den Entleerungskit entfernen.
Bemerkung
Beim Asycube 240: Wenn die Entleerungsoption aktiviert ist, sind der Eingang 2 und der Ausgang 2 deaktiviert und können nicht zum Auslösen einer Sequenz oder zur Steuerung eines Bunkers verwendet werden.
Bemerkung
Standard-Entleerungssequenzen (links und rechts) sind in den Sequenzen 2 und 3 jedes Asycubes 240, 380 und 530 gespeichert.
Schritt 1: Schrauben Sie die Plattform in den Entleerungsrahmen.
8 Tx10 - 0.8Nm Schrauben 
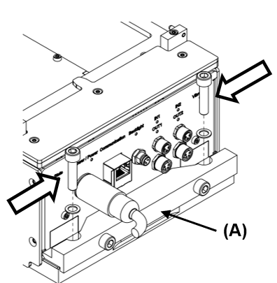
Schritt 2: Schrauben Sie den Entleerungsschnabel auf den Boden des Asycubes.
4 Tx8 - 0.6Nm Schrauben (A) 
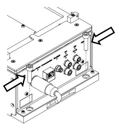
Schritt 3: Positionieren Sie das Ensemble auf dem Asycube. Ziehen Sie die 4 Griffschrauben an.
Schritt 4: Positionieren Sie den Entleerungs-Aktuator-Kit (B) (1)-(2) positionieren und ziehen Sie die Schrauben der Halterung (A) an.
2 I5 Schrauben, 4.5Nm. 
Bemerkung
Purging platform is not available for Asycube Clean 230