Auswechseln des Aktuators des Entleerungskits
Wichtig
Vor dem Auswechseln des Aktuators muss der Entleerungskit vom Asycube getrennt, die Plattform entfernt und der Aktuatorkit ausgebaut werden.
Schritt 1:
Entfernen Sie die Schutzabdeckung (A):
4 Tx10 Schrauben 
Schritt 2:
Koppeln Sie den Aktuator ab, indem Sie am Stecker und nicht am Kabel selbst (B) ziehen.
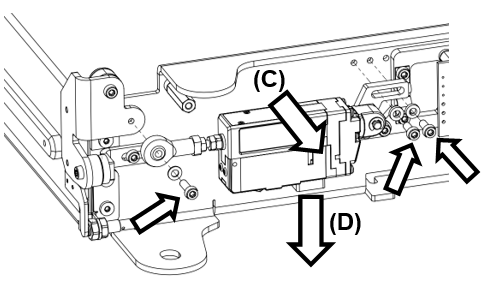
Schritt 3:
Schrauben Sie den Aktuator-Block ab:
4 Tx10 Schrauben 
Schritt 4:
Schrauben Sie die Halterung (1) ab und öffnen Sie sie:
4 X0 Schrauben 
Schrauben Sie den Aktuator (2) los:
1 Tx8 Schraube 
Tauschen Sie den Aktuator (C) aus.
Schritt 5:
Schrauben Sie den Aktuator wieder in die Halterung (1):
1 Tx8 Schraube - 0.8Nm. 
Schlissen Sie und schrauben Sie die Halterung (2) fest:
4 X0 Schrauben - 0.6Nm 
Schritt 6:
Schrauben Sie den Aktuator-Block wieder auf die Hauptplatte:
4 Tx10 Schrauben - 1Nm 
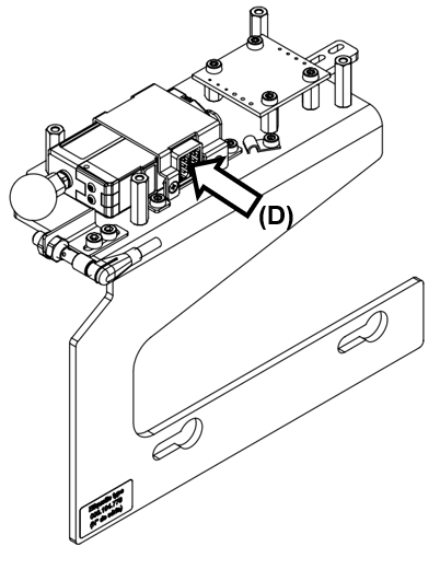
Schritt 7:
Stecken Sie den Aktuator (D) ein.
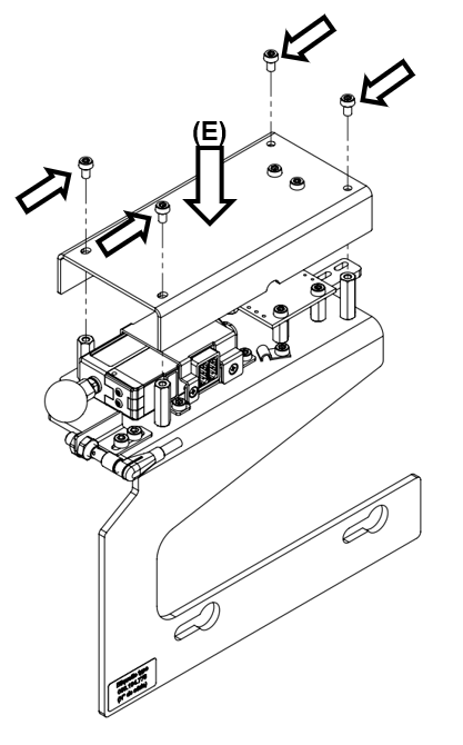
Schritt 8:
Schrauben Sie die Schutzabdeckung (E) wieder an:
4 Tx10 Schrauben - 0.6Nm 
Schritt 1:
Entfernen Sie die Schutzabdeckung (A):
4 Tx10 Schrauben 
Schritt 2:
Schneiden Sie den Kabelbinder durch, ohne die Kabel zu beschädigen.
Schritt 3:
Schrauben Sie den Motorblock ab:
3 Tx10 Schrauben 
Entfernen Sie den Motor (C) und trennen Sie die Verbindung, indem Sie am Stecker und nicht am Kabel selbst (D) ziehen.
Schritt 4:
Entfernen Sie den Sicherungsring (E).
Tauschen Sie den Motorblock (F) aus.
Bringen Sie den Sicherungsring (E) wieder an.
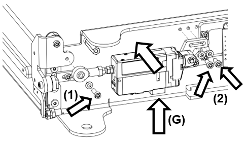
Schritt 5:
Stecken Sie den Motorblock (G) ein.
Ziehen Sie die Schraube der Klappe (1) fest (halten Sie die Klappe beim Schrauben in geschlossener Position).
Schrauben Sie die Klammer (2) ein und halten Sie dabei die Klappe in geschlossener Position.
3 Tx 10 Schrauben / 1.2Nm 
Schritt 6:
Binden Sie die Kabel mit einem Kabelbinder (H) zusammen.
Schritt 7:
Schrauben Sie die Schutzabdeckung wieder an (I).
4 Tx10 Schrauben - 0.6Nm 