Warnung

Sie lesen eine alte Version dieser Dokumentation. Wenn Sie aktuelle Informationen wünschen, schauen Sie bitte unter 2025.11 .

Auswechseln des Aktuators des Entleerungskits

Wichtig

Vor dem Auswechseln des Aktuators muss der Entleerungskit vom Asycube getrennt, die Plattform entfernt und der Aktuatorkit ausgebaut werden.

Schritt 1:

Entfernen Sie die Schutzabdeckung (A):

4 Tx10 Schrauben torx

../../_images/replacing_kit_step1.png

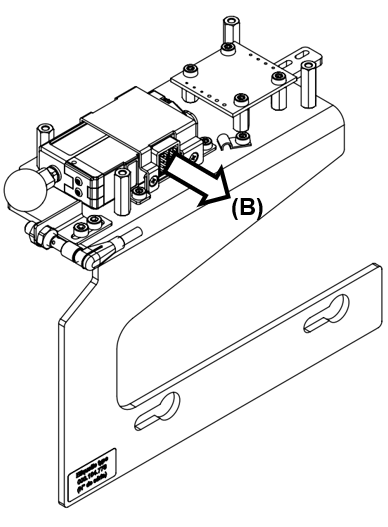
Schritt 2:

Koppeln Sie den Aktuator ab, indem Sie am Stecker und nicht am Kabel selbst (B) ziehen.

../../_images/replacing_kit_step2.png

Schritt 3:

Schrauben Sie den Aktuator-Block ab:

4 Tx10 Schrauben torx

../../_images/replacing_kit_step3.png

Schritt 4:

Schrauben Sie die Halterung (1) ab und öffnen Sie sie:

4 X0 Schrauben cruciform

Schrauben Sie den Aktuator (2) los:

1 Tx8 Schraube torx

Tauschen Sie den Aktuator (C) aus.

../../_images/replacing_kit_step4.png

Schritt 5:

Schrauben Sie den Aktuator wieder in die Halterung (1):

1 Tx8 Schraube - 0.8Nm. torx

Schlissen Sie und schrauben Sie die Halterung (2) fest:

4 X0 Schrauben - 0.6Nm cruciform

../../_images/replacing_kit_step5.png

Schritt 6:

Schrauben Sie den Aktuator-Block wieder auf die Hauptplatte:

4 Tx10 Schrauben - 1Nm torx

../../_images/replacing_kit_step6.png

Schritt 7:

Stecken Sie den Aktuator (D) ein.

../../_images/replacing_kit_step7.png

Schritt 8:

Schrauben Sie die Schutzabdeckung (E) wieder an:

4 Tx10 Schrauben - 0.6Nm torx

../../_images/replacing_kit_step8.png