プラットフォームモジュールを取り外し方
アジキューブプレートは、特別な工具を使わずに素早く解体することができます。以下の手順で、アジキューブプレートを交換してください。
注釈
アジキューブに取り付け可能なプレートタイプについては、 プラットフォーム を参照してください。
重要
プラットフォームモジュールを取り外す前に、バックライトが消灯していることを確認してください。
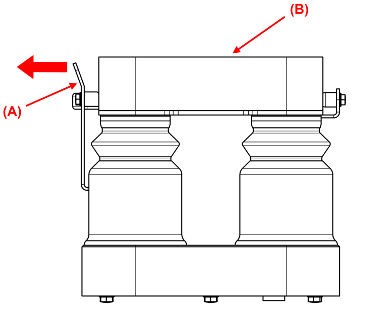
ステップ1 レバー (A) を時計回りに回し、手前に引く。
ステップ2 プラットフォーム (B) を取り外す。
ステップ1 はまっている部品 (A) を上に引っ張り、プラットフォーム (B) を上に動かするために移動する。
ステップ2 プラットフォームを取り出し (C) 、部品を解放し、ステップ1と逆の操作で機構を初期位置に戻す。
ステップ1 4本のハンドルネジを外す。
ステップ2 アジキューブプラットフォームアセンブリを取り外す。
ステップ3 8本のネジを外して、フレームをプラットフォームから外す。
ステップ4 プラットフォームを組み立てる。
フレームの中にプラットフォームを位置付ける(8本の 0.8Nm ネジ)。
アジキューブにアセンブリを置く。
手動で4本のハンドルネジを締める。
ステップ1 はレバー (A) をやさしく外側に引いて、プラットフォーム (B) を解除する。
ステップ2 はグリップハンドル (C) を持って、プラットフォームを持ち上げて取り外す。