パージ付きプラットフォーム
注釈
Asycube Clean 230 はパージ付きプラットフォームに対応していません
パージオプションにより、A 品からB 品への切り替えが簡単に行え、自動運転中のオペレーターの介入を避けながら、切り替え時間を短縮することができます。パージの原理は、各種アジリルごとに異なります。
Asycube 50/80のパージオプションは、次の通りです。
(A) 特殊な形状を持つプラットフォームで、パーツを排出することができる。
(B) ホッパーの下に設置され、パージ(排出)されたパーツを受け取るボックス。このボックスは工具なしで取り外すことができる。
図 68 パージオプション
Asycube 240のパージオプションは、次の通りです。
(A) 特殊な形状のフラップを持ち、左右どちらにもパーツをパージ(排出)できるプラットフォーム。
(B) フラップの動きと開閉を可能にするパージアクチュエータキット。電動アクチュエータとセンサーが含まれている。
(C) パージパーツスパウト
注釈
パージアクチュエータキットは、プラットフォームとは別売です。
パージスパウトは、パージアクチュエータキットと一緒にお届けします。
ケーブルはパージアクチュエータキットに付属しています。
購入後に、パージのサイド(右または左)の再設定はできません。
Asycube 380/530のパージオプションは、次の通りです。
(A) フラップを一体化し、左右どちらにもパージできるパージフレーム。電動アクチュエータとセンサーがあり、フラップを適切に閉じることができる。
(B) パージパーツスパウト
フラップは電気モーターで駆動し、センサーでフラップが正しく閉じられたことを認識します。この機構は、アジキューブにより直接制御されます。
注釈
パージアクチュエータキットは、プラットフォームとは別売です。
パージスパウトは、パージフレームに含まれています。
ケーブルはパージアクチュエータキットに付属しています。
注釈
Asycube Clean 230 はパージ付きプラットフォームに対応していません
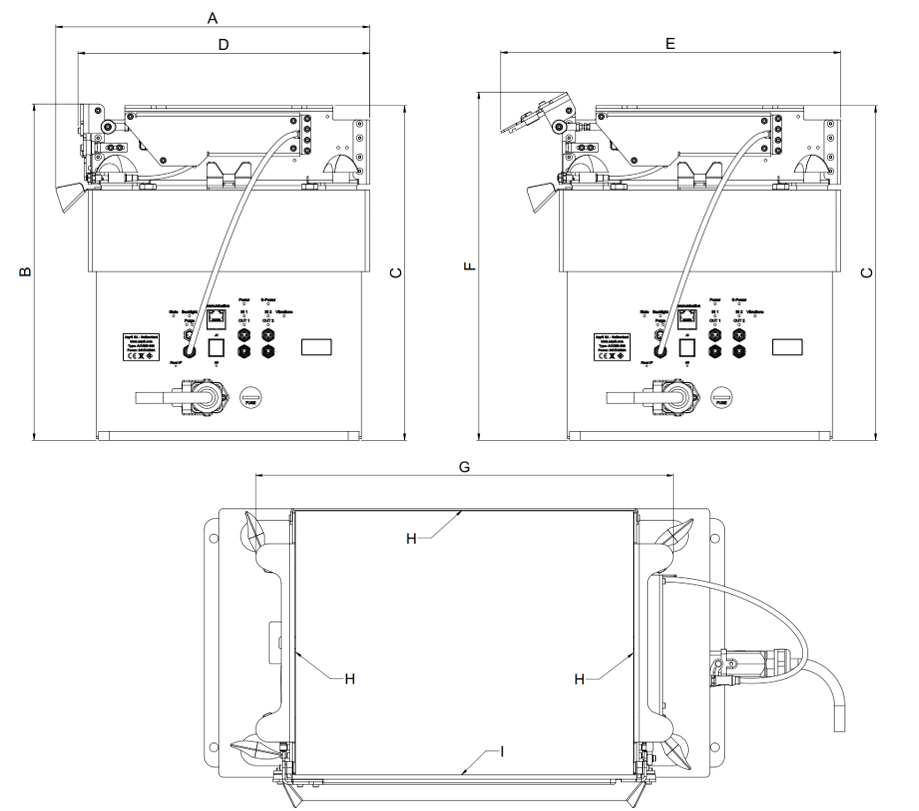
機械的インターフェース
50 |
80 |
|
|---|---|---|
A |
68.7 mm |
90.7 mm |
B |
1 mm |
1 mm |
C |
3.5 mm |
3.5 mm |
D |
2.5 mm |
3.5 mm |
E |
5.5 mm |
5.5 mm |
F |
45° |
45° |
Asycube 240 |
|
|---|---|
A |
199mm |
B ± ストローク |
144±2mm |
C ± ストローク |
132±2 mm |
D |
180mm |
E |
152mm |
F |
4mm |
G |
54mm |
H |
201mm |
I ± ストローク |
149±2mm |
L |
ステンレス鋼 1.4301 |
M |
ステンレス鋼 1.4301 |
N |
POM(製品リストを参照) |
Asycube 380 |
Asycube 530 |
|||
|---|---|---|---|---|
フレーム高さ |
H=60mm |
H=85mm |
H=68mm |
H=100mm |
A |
287mm |
287mm |
404mm |
404mm |
B± ストローク |
307±6mm |
332±6mm |
329±8mm |
361±8mm |
C ± ストローク |
306±6mm |
331±6mm |
327±8mm |
359±8mm |
D |
264mm |
264mm |
381mm |
381mm |
E |
311mm |
333mm |
435mm |
463mm |
F |
316±6mm |
341±6mm |
338±8mm |
370±8mm |
G |
400mm |
400mm |
506mm |
506mm |
H |
ステンレス鋼 1.4301 |
|||
I |
POM-C(FDA) |
|||
注釈
Asycube Clean 230 はパージ付きプラットフォームに対応していません
電気的インターフェース
このタイプのアジキューブには適用されません。
注釈
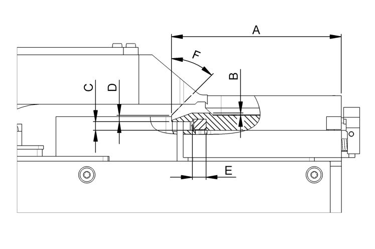
パージアクチュエーターキットを使用するにはアジキューブの「IN 2」/「OUT 2」出力にケーブルを接続します。システムを取り外す必要がある場合は、ケーブルを取り外すことを忘れないでください。
注釈
パージフレームを差し込むと、モーターが原点復帰しようとするため、ノイズが発生します。この音は、状況によっては自動運転中にも聞こえることがあります。
重要
モーターの早期損傷を防ぐため、プラットフォームを空にする動作以外は使用しないでください。
(例: フラップが「左側」にあるパージ機構では、「左側」の振動のみを使用することができます。同様に、フラップが「右側」にあるパージ機構では、「右側」の振動のみを使用することができます)。
注釈
パージフレームを使用するには、アジキューブの「パージ」出力にケーブルを接続します。フレームを取り外す必要がある場合は、ケーブルを取り外すことを忘れないでください。
注釈
パージフレームを差し込むと、モーターが原点復帰しようとするため、ノイズが発生します。この音は、状況によっては自動運転中にも聞こえることがあります。
重要
モーターの早期損傷を防ぐため、プラットフォームを空にする動作以外は使用しないでください。
(例: フラップが左側にあるパージシステムは、「左側」の振動のみを使用することができます。同様に、フラップが右側にあるパージシステムでは、「右側」の振動のみを使用することができます)。
注釈
Asycube Clean 230 はパージ付きプラットフォームに対応していません
パージ取り付けキット
このタイプのアジキューブには適用されません。
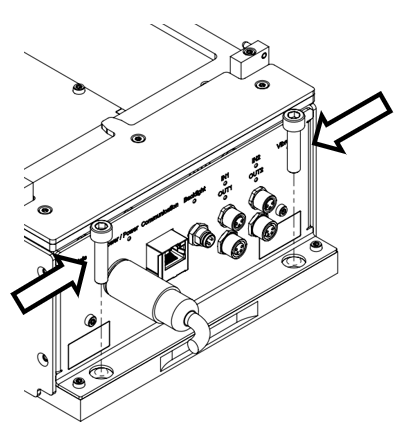
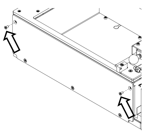
ステップ1 コネクタ側のアジキューブのネジを外す。
2本のI5 ネジ 
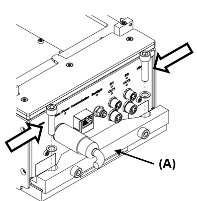
ステップ2 支持体 (A) を配置します。(アジキューブの表面に押し付けるようにしてください)。アジキューブをネジ止めする。
2本のI5 ネジ 
ステップ3 支持体のネジを緩めて、サポートの表面**(A)**とネジの頭の間の距離を d > 3mm 確保する。
2本のI5 ネジ 
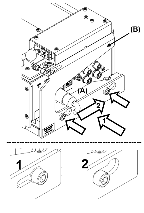
ステップ4 パージアクチュエーターキット (B) (1)-(2) を配置して、支持体 (A) のネジを締める。
2本のI5 ネジ、4.5Nm. 
パージアクチュエータキット(B)をネジに対してスライドさせてから留めてください (操作2)。
ステップ5 アジキューブにパージアクチュエータキットを接続する。出力は、 IN2 / OUT2 を使う。
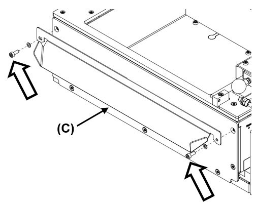
ステップ6(オプション) サイドプレートからネジ2本を外す。
2本の Tx10 ネジ. 
ステップ7(オプション) アジキューブの台上にパージスパウト (C) をネジで留める。
2本の I2.5 ネジ、 1.2Nm. 
ステップ8 アジキューブ上にプラットフォームを取り付ける。
ステップ9 センサーホールダーのネジを外す。センサープレートから1〜1.5mm の距離にセンサーを設置する。センサーホールダーを2本のネジでしっかり留める。
2本の I2.5 ネジ、 1.2Nm. 
ステップ10 Asycube Studio を開き、「構成」タブを選び、パージ機能を有効にする。
重要
パージフラップが開いているときは、左右以外の振動を使わないでください。このルールを守らないと、機構が修復不可能なほど破損する可能性があります。
重要
パージキットとパージオプションの有効は、振動の挙動を変更します。パージキットを取り外したら、忘れずにパージオプションを無効にしてください。
注釈
Asycube 240 の場合は、パージオプションを有効にすると、入力2と出力2が無効になり、シーケンスの始動やホッパーの制御に使用できなくなります。
注釈
初期設定ののパージシーケンス(左右)は、すべての Asycube 240/380/530のシーケンス2および3に保存されています。
ステップ1 パージフレームにプラットフォームをネジで留める。
8本の Tx10 ネジ - 0.8Nm. 
ステップ2 アジキューブの台の上にパージスパウトをネジで留める。
4本の Tx8 ネジ(A)、 0.6Nm 
ステップ3 アジキューブの上にアセンブリを取り付ける。4本のハンドルネジで留める。
ステップ4 パージアクチュエーターキット (B) (1)-(2) を配置して、支持体 (A) のネジを締める。
2本のI5 ネジ、4.5Nm. 
注釈
Asycube Clean 230 はパージ付きプラットフォームに対応していません