警告
これは、古いバージョンのドキュメントです。 最新の情報をご覧になりたい場合は、次をご覧ください 2025.09 .アジキューブ 240/380/530 専用ホッパー
アジリル社が販売するホッパーオプションは、次の通りです。
図 56 アジキューブ 240/380/530 専用ホッパー
【パーツを入れる容器( 機械的インターフェース を参照)(別称「タンク」)】供給するパーツのサイズと必要な機械の自律性に応じて、異なるサイズのホッパーを使用することができます(1L、2L、3L、10L、15L)。これらの容器は、ステンレス鋼 Inox 1.4301 製です。
【リニアバイブレータ ( 機械的インターフェース を参照) 】ホッパーのアクチュエータで、容器内のパーツを前進させてアジキューブ上に落下させることができます。
【 コントロールユニット 】ホッパー振動の振幅を調整するために使用されます。
【ケーブルのセット( 電気的インターフェイス を参照)】このセットには3種類のケーブルがあります。
【入力電源ケーブル】ホッパーコントローラとリニアバイブレータを接続するケーブルです。
【デジタル制御ケーブル】ホッパーコントローラとアジキューブを接続するケーブルです。
【電源ケーブル】ホッパーコントローラと電源を接続するケーブルです。
クイックスタート
箱から中身を取り出す
ホッパー 1台
ホッパー制御ユニット 1台
ケーブル 3本(入力電源、ホッパーへの電源ケーブル、デジタル制御ケーブル)
ホッパーの取り付け・セットアップの仕方は、 取り付け を参照してください。
ホッパー制御ユニットを取り付けてください。詳しくは、 取り付け を参照してください。
アジキューブのデジタル制御ケーブル デジタル出力ポート をホッパー制御ユニットに接続してください。
ホッパーの電源ケーブルをホッパー制御ユニットに接続してください。
入力電源を接続してください。115V または 230V と 50Hz または 60Hz のいずれかを選択してください。
重要
入力電圧および周波数は、ホッパー振動機構の電圧および周波数と一致させてください。これを守らないと、ホッパーが修復不可能なほど損傷してしまう可能性があります。
ホッパー制御ユニットの ON/OFF スイッチをONにしてください。
アジキューブのデジタル出力を動作してください。
ホッパーが振動していることを確認してください。
ホッパーコントロールユニットのポテンショメータ( 0 ~ 100% )で、必要に応じて振動レベルを調整してください。
電気的インターフェイス
配線図
ホッパーには、コントローラとケーブルが付属しており、すぐに設置できます。ホッパーは、機種によって、次の通りです。
115V (+10%/-15%)、50Hz、 6A
115V(+10%/-15%)、60Hz、6A
230V(+10%/-15%)、50Hz、6A
230V(+10%/-15%)、60Hz、6A
重要
入力電圧および周波数は、ホッパー振動機構の電圧および周波数と一致させてください。これを守らないと、ホッパーが修復不可能なほど損傷してしまう可能性があります。
番号  | 
信号  | 
内部配線  | 
ホッパーコントロールユニットケーブル  | 
|---|---|---|---|
1  | 
L  | 
ラベル1または茶色  | 
  | 
2  | 
N  | 
ラベル2または青色  | 
|
3  | 
PE  | 
グランド(緑色/黄色)  | 
コントロールユニット
図 57 コントロールユニット
【 (A) 入力ケーブル】 ホッパーコントローラとリニアバイブレータを接続するケーブルです。
【 (B) デジタル制御ケーブル】ホッパーコントローラとアジキューブを接続するケーブルです。
【 (C) 電源ケーブル】ホッパーコントローラと電源を接続するケーブルです。
コントロールユニットは、以下の寸法のマウントブラケット(A)に取り付けます。
図 58 コントロールユニット
注意
ポテンショメーターに届くように制御ユニットを配置してください。
機械的インターフェース
ホッパーには1L、2L、3L、10L、15Lの5種類があり、アジキューブの背面や側面にも取り付けることができます。これにより、2台のホッパーで2種類のパーツを同時に供給できる「デュアルフィーディング」などのアプリケーションが可能になります( 図 59 )。
図 59 「モノフィーディング」と「デュアルフィーディング」のイメージ図
注意
デュアルフィーディングの場合、2種類のパーツが同じ振動設定を共有することになるため、パーツの組み合わせには注意を払ってください。非常に重くて大きなパーツと軽くて小さなパーツを組み合わせた場合、満足のいく結果が得られないかもしれません。振動特性は様々な要因で変化しますので、まず事前テストを行うことを強くお勧めします。
下表は、「モノフィーディング」または「デュアルフィーディング」の用途で、どのホッパーサイズとどのアジキューブを組み合わせて使用できるかをまとめたものです。
Asycube 240  | 
Asycube 380  | 
Asycube 530  | 
|
|---|---|---|---|
1L ホッパー  | 
モノ / デュアルフィーディング  | 
モノ / デュアルフィーディング  | 
モノ / デュアルフィーディング  | 
2L ホッパー  | 
モノフィーディング  | 
モノ / デュアルフィーディング  | 
モノ / デュアルフィーディング  | 
3L ホッパー  | 
モノフィーディング  | 
モノ / デュアルフィーディング  | 
モノ / デュアルフィーディング  | 
10L ホッパー  | 
互換性なし  | 
モノフィーディング  | 
モノ / デュアルフィーディング  | 
15L ホッパー  | 
互換性なし  | 
互換性なし  | 
モノフィーディング  | 
注意
2Lと3Lのホッパーには取り付け脚が付属しており、M8x20 ネジ4本で Asycube 240 に適した高さで直接マシンベースに固定することができます。
注意
1L、2L、3L、10L、15Lのホッパーを Asycube 380 や Asycube 530 と組み合わせる場合、オプションの「モジュラーホッパー固定キット」を使えば、ホッパーを理想の高さに設置することができます。
次の図で、各種ホッパーの取り付け位置(高さ)とベースプレートの固定位置(穴の場所)をご確認ください。
1 L ホッパー
2 L ホッパー
3 L ホッパー 機械的インターフェース
10 L ホッパー 機械的インターフェース
Asycube 380 モノフィーディング
図 76 10 L ホッパー 固定キット付き(製品リストによりオプションとして)
図 77 10 L ホッパー 固定キットなし
15 L ホッパー 機械的インターフェース
Asycube 530 モノフィーディング
図 78 15 L ホッパー固定キット付き(製品リストによりオプションとして)
図 79 15 L ホッパー 固定キットなし
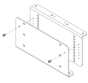
モジュラー固定キット
ヒント
このセクションは、Asycube 380/530 だけに関係がある内容です。
モジュラー固定キットを使って、Asycube 380/530 に最適な高さにホッパーを設置できます。その取り付け方法は、次の通りです。
ステップ1
固定高さを選び、M5ネジ(2本)でプレート上半分を固定します。
注意
固定キットの高さは、180mmから255mmの高さで15mm単位で調整可能です。
ステップ 2
M8 ネジ(4本)をナットに固定します。
ステップ3
ステップ1と2をプレート下半分でリピートします。
ステップ4
モジュラー固定キットをベースプレートに固定し、その上にホッパーを固定してください。
















