Remplacement de l’actionneur du kit de purge
Important
Avant de remplacer l’actionneur, débranchez le kit d’actionneur de purge de l’Asycube, retirez la plateforme et retirez le kit d’actionneur.
Étape 1 :
Retirez le couvercle de protection (A) :
4 vis Tx10 
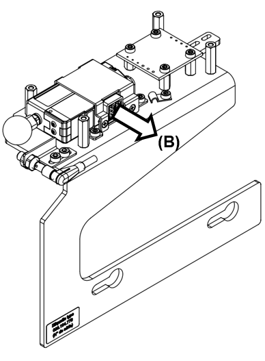
Étape 2 :
Débranchez l’actionneur en tirant sur le connecteur, et non sur le câble lui-même (B).
Étape 3 :
Dévissez le bloc de l’actionneur :
4 vis Tx10 
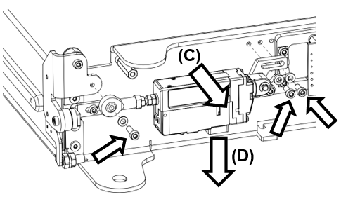
Étape 4 :
Dévissez et ouvrez le support (1) :
4 vis X0 
Dévissez l’actionneur (2) :
1 vis Tx8 
Remplacez l’actionneur (C).
Étape 5 :
Revissez l’actionneur au support (1) :
1 vis Tx8 - 0.8Nm 
Fermez et vissez le support (2) :
4 vis X0 - 0.6Nm 
Étape 6 :
Revissez le bloc de l’actionneur sur la plaque principale :
4 vis Tx10 - 1Nm 
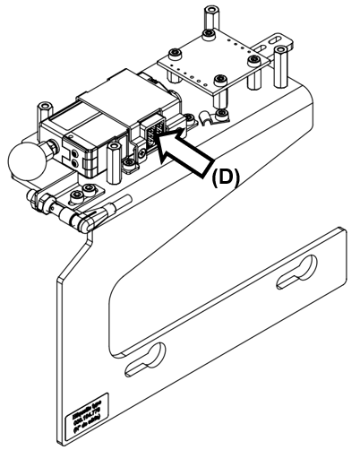
Étape 7 :
Branchez l’actionneur (D).
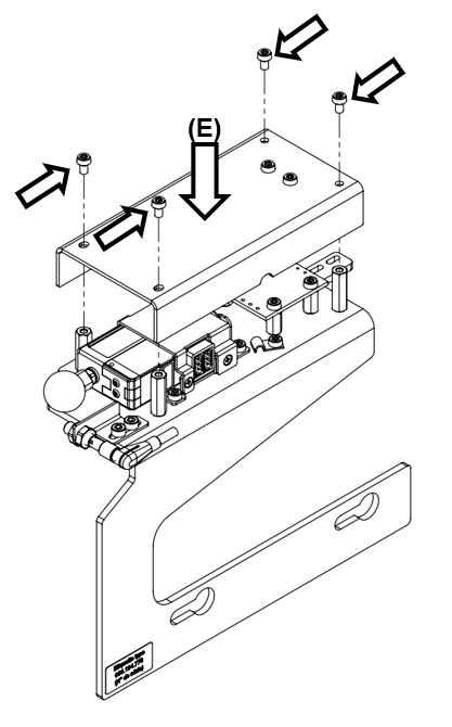
Étape 8 :
Revissez le couvercle de protection (E) dans sa position d’origine :
4 vis Tx10 - 0.6Nm 
Étape 1 :
Retirez le couvercle de protection (A) :
4 vis Tx10 
Étape 2 :
Coupez le serre-câbles sans endommager les câbles.
Étape 3 :
Dévissez le bloc du moteur :
3 vis Tx10 
Retirez le moteur (C) et déconnectez-le en tirant sur le connecteur, et non sur le câble lui-même (D).
Étape 4 :
Retirez l’anneau de retenue (E).
Remplacez le bloc du moteur (F).
Repositionnez l’anneau de retenue (E).
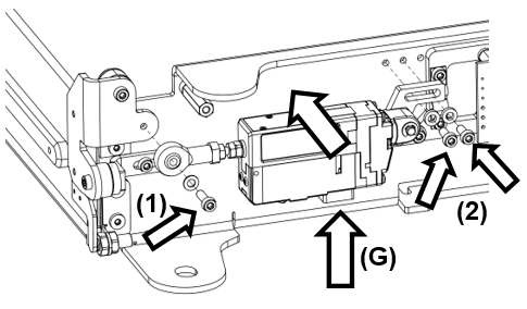
Étape 5 :
Branchez le bloc du moteur (G).
Serrez la vis du clapet (1) (maintenez le clapet en position fermée pendant que vous serrez la vis).
Vissez le support (2) en maintenant toujours le clapet en position fermée.
3 vis Tx 10 / 1.2Nm 
Étape 6 :
Attachez les câbles avec un serre-câbles (H).
Étape 7 :
Replacez et revissez le couvercle de protection (I).
4 vis Tx 10 - 0.6Nm 