Ôter le module de la plateforme
La plateforme de l’Asycube peut être démontée rapidement et sans avoir besoin d’outils spécifiques. Suivez les étapes décrites ci-dessous pour changer la plateforme de votre Asycube.
Remarque
Consultez la section Plateforme pour plus d’informations sur les différents types de plateformes qui peuvent être montées sur l’Asycube.
Important
Assurez-vous que le rétroéclairage est éteint avant de retirer le module de la plateforme.
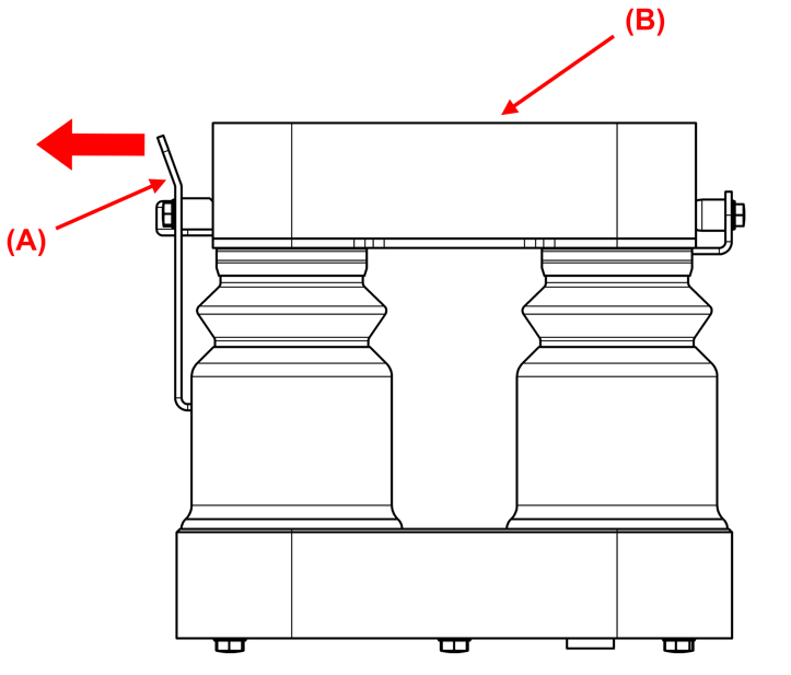
Étape 1 : Tournez le levier (A) dans le sens des aiguilles d’une montre et tirez-le vers l’avant
Étape 2 : Retirez la plateforme (B)
Étape 1 : Retirez l’outil intégré (A) et éloignez-le pour libérer la plateforme (B)
Étape 2 : Retirez la plateforme (C). Relâchez l’outil pour faire revenir le mécanisme à sa position initiale en inversant l’opération de l’étape 1
Étape 1 : Dévissez les 4 vis à poignée.
Étape 2 : Retirez l’assemblage de la plateforme de l’Asycube.
Étape 3 : Dévissez les 8 vis et ôter la plateforme du cadre.
Étape 4 : Assemblez la plateforme :
Positionnez la plateforme dans le cadre (8 vis 0.8Nm).
Positionnez l’assemblage sur l’Asycube.
Serrez fermement les 4 vis à poignée à la main.
Étape 1 : Actionnez le levier (A) en le tirant doucement vers l’extérieur pour libérer la plateforme (B).
Étape 2 : Tenez la plateforme par la poignée de préhension (C) et soulevez-la pour la retirer.