Remove the platform module
The Asycube plate can be unmounted quickly and without the need of specific tools. Follow the steps described below to exchange the plate of your Asycube.
Note
Refer to Plate for more information on the different Plate types that can be mounted onto the Asycube.
Important
Be sure that the backlight is off before removing the platform module.
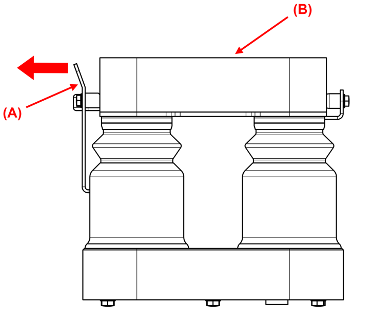
Step 1: Turn the lever (A) clockwise and pull it forward
Step 2: Remove the platform (B)
Step 1: Pull out the integrated tool (A) and move it away for freeing the platform (B)
Step 2: Take the platform out (C) Release the tool, the mechanism as reverse operation from step 1 to let it goes to its initial position
Step 1: Unscrew the 4 handle screws
Step 2: Remove the Asycube platform assembly.
Step 3: Unscrew the 8 screws and take the platform out of the frame.
Step 4: Assemble the platform:
Position the platform in the frame (8 screws 0.8Nm).
Position the assembly on the Asycube.
Tighten the 4 handle screws securely by hand.
Step 1: Operate lever (A) by gently pulling it outward to release the platform (B).
Step 2: Hold the platform by the gripping handle (C) and lift it to remove it.