Entfernen des Plattformmoduls
Die Asycube-Platte kann schnell und ohne spezielles Werkzeug demontiert werden. Folgen Sie den unten beschriebenen Schritten, um die Platte Ihres Asycubes auszutauschen.
Bemerkung
Im Abschnitt Platte finden Sie weitere Informationen über die verschiedenen Plattentypen, die auf dem Asycube montiert werden können.
Wichtig
Stellen Sie sicher, dass die Hintergrundbeleuchtung ausgeschaltet ist, bevor Sie das Plattformmodul entfernen.
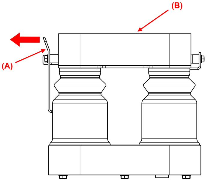
Schritt 1: Drehen Sie den Hebel (A) im Uhrzeigersinn und ziehen Sie ihn nach vorne
Schritt 2: Entfernen Sie die Plattform (B)
Schritt 1: Ziehen Sie das integrierte Werkzeug (A) heraus und schieben Sie es weg, um die Plattform (B) freizulegen.
Schritt 2: Nehmen Sie die Plattform heraus (C). Lassen Sie das Werkzeug los und bringen Sie den Mechanismus mit einer im Vergleich zu Schritt 1 umgekehrten Operation in seine Ausgangsposition zurück.
Schritt 1: Schrauben Sie die 4 Griffschrauben los
Schritt 2: Entfernen Sie das Asycube-Plattform-Aggregat.
Schritt 3: Schrauben Sie die 8 Schrauben ab und nehmen Sie die Plattform aus dem Rahmen heraus.
Schritt 4: Setzen Sie die Plattform zusammen:
Positionieren Sie die Plattform im Rahmen (8 Schrauben 0.8Nm).
Positionieren Sie das Aggregat auf dem Asycube.
Ziehen Sie die 4 Griffschrauben von Hand fest an.
Schritt 1: Ziehen Sie den Hebel (A) vorsichtig nach aussen, um die Plattform (B) zu entriegeln.
Schritt 2: Halten Sie die Plattform am Haltegriff (C) und heben Sie sie an, um sie zu entfernen.